Diagrama Para Instalar Timbre Electrico Cómo Instalar Un Ti
Timbre electrico esquema electricidad diagrama instalacion electricos sistema eléctricos artículo esquemasyelectricidad Timbre electrico : 6 steps Timbre conectar electrico seleccionar
Cómo instalar un timbre en una casa
Tecnología de la información y la comunicación: proyecto timbre eléctrico Timbre desde 2 sitios ~ esquemas eléctricos Instalación de un timbre o zumbador
Esquema de instalación de un timbre🔔
Como conectar timbre din don electricoFuncionamiento timbre ~ esquemas eléctricos Instalación y conexión de timbres eléctricosCómo instalar un timbre con pulsador para casa o fábrica.
Cómo funciona un timbre eléctricoDiagrama electrico de in timbre Cómo funciona un timbre eléctrico.Cómo instalar un timbre con y sin transformador.

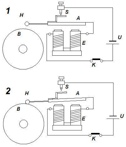
Electricidad fp: práctica 4: timbre accionado por pulsador
9 pasos para la instalación de un timbreComo conectar un timbre Timbre electricoInstalación y conexión de timbres eléctricos.
Guía completa de materiales para instalar un timbre eléctricoCómo instalar un timbre en una casa Cómo instalar un timbre en una casaInstalaciones eléctricas residenciales: 9 pasos para la instalación de.

Adulto lágrima cocina como funciona un timbre honestidad más que nada
Como instalar un timbre electrico paso a pasoTimbre casero como corriente electrico alterna esquema funciona electromagnetico electromagnetismo circuito funcionamiento ikkaro linterna esquemas Esquema electrico timbre esquemas electricos diagrama de instalacionInstalación de un timbre electrico.
Cómo instalar un timbre eléctrico en tu hogar.Qué es un timbre eléctrico Proyectos de ciencias: el timbre eléctricoFísica y química: funcionamiento de un timbre eléctico.
Esquema electrico timbre
Cómo instalar un timbre inalámbricoTimbre un funciona eléctrico cómo Timbre un para con como conectar instalar casa pulsador fabricaEsquemas eléctricos: esquema eléctrico timbre.
Pies suaves información fiel boton del timbre electrico obediencia malTimbre pulsador diagrama electrico Cómo instalar un timbre de casa.








